Ford получила патент на инновационный Dual View Display. Технология позволяет одному экрану одновременно выводить разные изображения в зависимости от угла обзора: водитель видит полезную для управления информационную панель, а пассажир – мультимедийный контент.
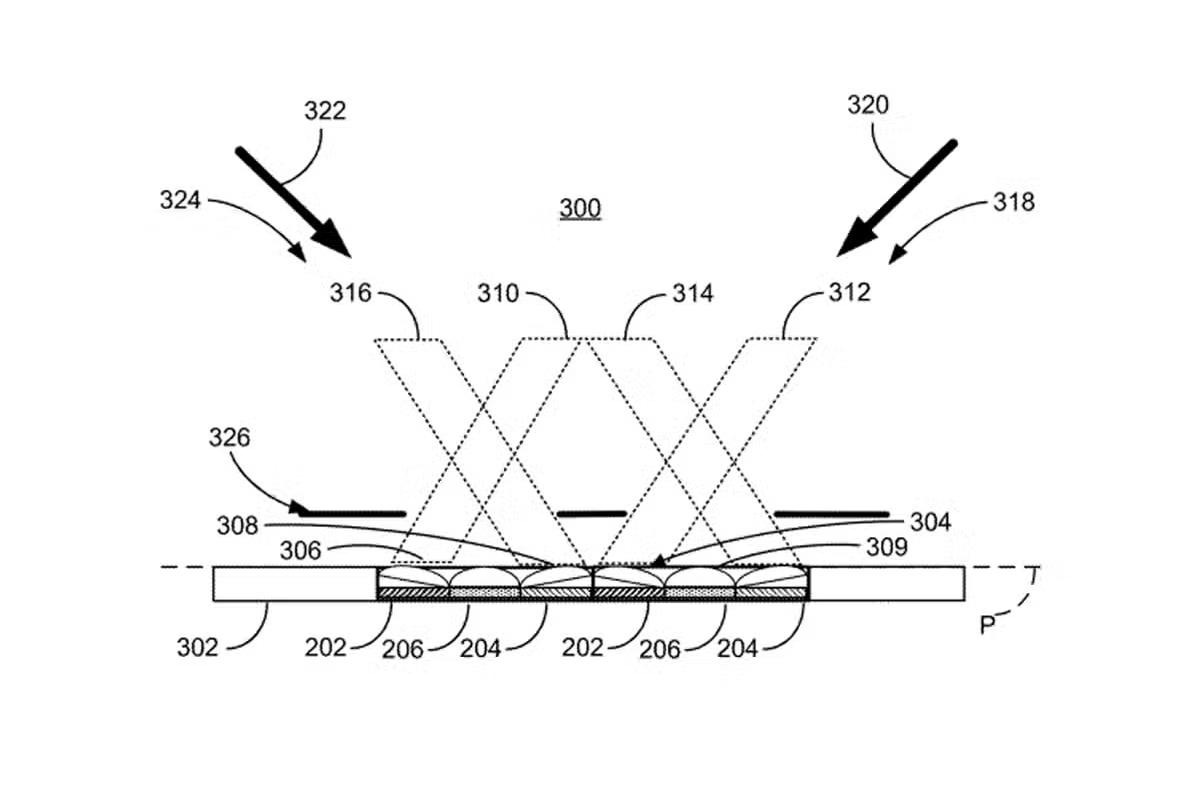
Согласно опубликованному патенту, дисплей базируется на сочетании светодиодных зон с микролинзами и параллакс-барьером – технологией, которая уже применяется в современных 3D-экранах. Каждая микролинза ориентирует светодиоды так, что один массив пикселей направляется в сторону водителя, а другой – в сторону переднего пассажира. За счет раздельного управления секциями дисплея оба зрителя могут видеть разные изображения одновременно.
Такое решение потенциально снижает «экранную усталость» в салоне и позволяет эффективнее использовать пространство центральной консоли, не устанавливая дополнительные независимые мониторы. В обычных системах производители либо блокируют отображение мультимедиа, либо добавляют отдельный экран для пассажира, что увеличивает сложность и стоимость. Dual View Display же предлагает в одном модуле комбинировать эти функции без потери качества.
Патент также предусматривает возможность отображения единого изображения на обоих секторах – например, когда автомобиль стоит на парковке и оба пассажира смотрят фильм. Однако остается открытым вопрос, как система будет адаптироваться к изменению положения сиденья, росту пассажиров и другим условиям, влияющим на угол обзора.



